W poprzednich numerach pisałem o przeprowadzaniu badań wytrzymałościowych kamienia naturalnego: wytrzymałości na ściskanie i wytrzymałości na zginanie. W pewnych specyficznych warunkach zastosowania materiału będziemy sprawdzać jeszcze jedną bardzo istotną własność —odporność materiału na wyrwanie kołka. Oczywiście ta właściwość materiału będzie istotna w przypadku montażu do ścian i sufitów płyt elewacyjnych za pomocą kotew. Nie trudno sobie uświadomić jak ważne jest to badanie dla bezpieczeństwa ludzi w czasie użytkowania tak zamontowanego kamienia.
Badanie zazwyczaj wykonujemy zgodnie z EN 13364 „Metody badań kamienia naturalnego —Oznaczanie obciążenia niszczącego przy otworze na kołek”. Badanie polega na przyłożeniu siły ścinającej do kołka zamontowanego w kamieniu. Kołek umieszcza się w otworze wywierconym w jednym z boków próbki i działa na niego zwiększającym się obciążeniem prostopadłym do powierzchni licowej próbki.
Badanie zostanie zakończone w momencie zniszczenia próbki (wyrwania kołka razem z kawałkiem kamienia). Badanie należy wykonywać nie rzadziej niż co 10 lat w ramach ZKP1) dla każdego surowca.
Wielkość próbek oraz położenie otworów jest związane z rodzajem badania. Do badania identyfikacyjnego używamy próbki 200 x 200 x 30 mm, a dla badania technologicznego przyjmujemy grubość płyty dla konkretnego zastosowania. W bokach płyt wywiercone zostają otwory, w których zostają zamocowane kołki.
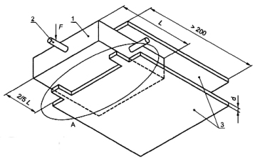
Tak przygotowana próbka zostaje zamocowana pomiędzy dwiema metalowymi płytami specjalnego przyrządu do mocowania, który zaprezentuje sąsiedni rysunek. Kołek z kolei zostaje zaciśnięty w uchwycie, przez który będzie działać siła niszcząca. Siła wzrasta równomiernie —z prędkością około 50 N/s —aż do zniszczenia próbki.

Schemat mocowania próbki kamienia w maszynie wytrzymałościowej
(1 —próbka, 2 —kołek, 3 —metalowa płyta, F —siła działająca na próbkę, L —długość płyty, d —grubość metalowej płyty)
W protokole zapisujemy: siłę, jaką należy przyłożyć, aby zniszczyć próbkę (F), największą odległość środka otworu od krawędzi wyłamania próbki (bA) oraz odległość otworu od powierzchni licowej (d1).


PRZYKŁAD
Do Laboratorium Badania Kamienia i Kruszyw w Strzegomiu dostarczono do badań pewien importowany granit. Inwestor chciał się przekonać, czy płyty elewacyjne będą na tyle mocne, że nie ulegną zniszczeniu w trakcie użytkowania. W tym celu pobrano z budowy płyty grubości 30 mm. Próbki zostały docięte do wymiaru 200 x 200 mm, a następnie przygotowane do przeprowadzenia badania poprzez nawiercenie otworów o średnicy 10 mm i zamocowaniu kotew 6 x 60 mm. Poniżej znajdują się wyniki badania.

W ten sposób określona została kolejna cecha materiału kamiennego. W tym konkretnym przypadku poznaliśmy wytrzymałość 3-centymetrowej płyty z wybranego materiału na wyrwanie kotwy, przy pomocy której materiał ten będzie zamocowany do ściany budynku. To z kolei, przy znanym ciężarze płyty oraz spodziewanych obciążeniach i prognozowanej sile wiatru , pozwala ocenić, czy liczba kotew użytych do zamocowania każdej z płyt zagwarantuje pełne bezpieczeństwo użytkowania.

Montaż płyt elewacyjnych za pomocą kotew (fot. LBKiK)
#michalfirlej
| « poprzednia | następna » |
|---|