
Ścieranie wyrobów z kamienia występuje wszędzie, gdzie po kamieniu ktoś lub coś się przemieszcza – ludzie chodzą po posadzkach, samochody jeżdżą po nawierzchniach brukowych. W tym badaniu określa się możliwość starcia elementu kamiennego w trakcie eksploatacji.
Obecnie w badaniach tej właściwości posługujemy się normą PN-EN 14157:2005-12P „Kamień naturalny – Oznaczanie odporności na ścieranie”. W normie tej zostały opisane trzy metody badań:
• szerokiego koła (Capona),
• tarczy Boehmego,
• Amslera.
W naszym regionie najpopularniejszą metodą jest badanie na tarczy Boehmego (metoda B).

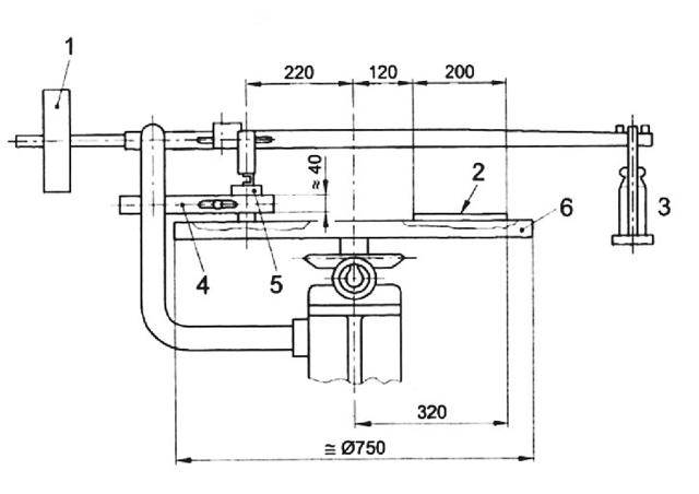
Schemat tarczy Boehmego
1 – przeciwwaga
2 – tor badawczy
3 – obciążnik
4 – mocowanie próbki
5 – próbka do badania
6 – obrotowa tarcza
Badanie polega na dociśnięciu próbki badawczej do tarczy ściernej, na której zostało nasypane ścierniwo (korund). Tarcza wykonuje określoną liczbę obrotów i sprawdzany jest ubytek objętości próbki.
Do badania potrzebujemy przynajmniej sześciu próbek prostopadłościennych o kwadra-towej podstawie 71 x 71 mm (±1,5 mm). Po wysu-szeniu próbek do stałej masy (lub w przypadku konieczności wykonania badania na mokro – po nasączeniu wodą), waży się je i mierzy. Na tor badawczy wysypuje się 20-gramową porcję korundu. Następnie próbka umieszcza się w uchwycie i dociska osiowo siłą około 294 N. Badanie polega na poddaniu próbki 16 cyklom ścierania – każdy po 22 obroty. Po każdym cyklu należy uprzątnąć tarcze i nasypać ponownie korund oraz obrócić próbkę o 90o.
Po ścieraniu sprawdzana zostaje zmiana wysokości próbki (wynik w mm) i zmiana jej objętości (wynik w mm3).
W przypadku wyrobów drogowych w Polsce wymagane jest, aby ubytek wysokości próbki nie przekraczał 1,2 mm, czyli ubytek objętości nie powinien przekraczać około 6050 mm³.
#michalfirlej
| « poprzednia | następna » |
|---|